ДР-П-05-15
Доступен для скачивания
краткий каталог продукции:
Датчик-реле потока (реле протока) лепестковый ДР-П-05-15 предназначен для контроля потока неагрессивных жидкостей, таких как вода, этиленгликоль и др. Прибор устанавливается в тройник трубопровода.
Данное устройство применяется для определения наличия или отсутствия потока жидкости и управления исполнительным механизмом в различных системах автоматики, например, для защиты насосов от «сухого» хода, в цепях аварийно-предупредительной сигнализации, в системах охлаждения жидкостей, жидкостных насосах, конденсаторах, системах горячего водоснабжения и других типах промышленного оборудования.
Особенности:
Данное устройство применяется для определения наличия или отсутствия потока жидкости и управления исполнительным механизмом в различных системах автоматики, например, для защиты насосов от «сухого» хода, в цепях аварийно-предупредительной сигнализации, в системах охлаждения жидкостей, жидкостных насосах, конденсаторах, системах горячего водоснабжения и других типах промышленного оборудования.
Особенности:
- В комплекте 1 лепесток из нержавеющей стали (min Ду трубы ½" при установке через удлинитель). При необходимости можно купить сменный лепесток отдельно.
- Простой монтаж
Внутри корпуса установлен подпружиненный с одной стороны язычок. На верхнем конце язычка установлен магнит, в нижнем конце язычка закрепляется лепесток, который является чувствительным элементом. Поток жидкости отклоняет лепесток, изменяя положение магнита.
Настройка логики работы (НО/НЗ) и установка порога срабатывания осуществляется перемещением нейлоновой гильзы с герконом по сквозному отверстию в верхней части корпуса. Для этого на лепесток прибора подается поток необходимой (отслеживаемой) величины, гильза сдвигается до момента срабатывания и фиксируется стопорным винтом.
Настройка логики работы (НО/НЗ) и установка порога срабатывания осуществляется перемещением нейлоновой гильзы с герконом по сквозному отверстию в верхней части корпуса. Для этого на лепесток прибора подается поток необходимой (отслеживаемой) величины, гильза сдвигается до момента срабатывания и фиксируется стопорным винтом.
Смена логики работы (НО/НЗ) также меняется перестановкой нейлоновой гильзы в обратном направлении.
Для увеличения коммутационной способности датчика-реле следует использовать промежуточные реле, например, MY, 55-02, 55-04, LY4 c током потребления не более 300 мА. Для питания катушки промежуточного реле необходимы блоки питания, например, DR, MDR, БП97, БП67, или питание от сетевого источника ~220 В.

Для защиты прибора от попадания инородных частиц рекомендуется установить фильтр механической очистки перед датчиком-реле. Для герметизации резьбовых металлических соединений рекомендуется использовать анаэробные герметики.
Технические характеристики:
| Параметр | Значение |
| Рабочая среда | Вода, этиленгликоль и другие неагрессивные жидкости |
| Максимальное давление рабочей среды
| 1,2 МПа |
| Температура рабочей среды | 0…+100°С |
| Расход | 3,5...12 л/мин |
| Реле | ≅0,3 А, 250 В |
| Мощность
| 70 Вт |
| Сопротивление изоляции
| 108 Ом |
| Ресурс работы
| ≥108 циклов
|
|
Время переключения
|
0,35 мс
|
| Степень пылевлагозащиты
| IP67 |
| Материал | Корпус – латунь, гильза – нейлон,
лепесток – нержавеющая сталь |
| Материал корпуса
| Латунь
|
| Материал лепестков | Нержавеющая сталь |
|
Присоединение
| Наруж. G½" |
| Длина провода | 470 мм |
| Размеры без лепестков (В×Ш×Г) | 69×50×27 мм |
|
Размеры лепестка (В×Ш)
| 60×10 мм |
|
Вес без лепестка
| 115 г |
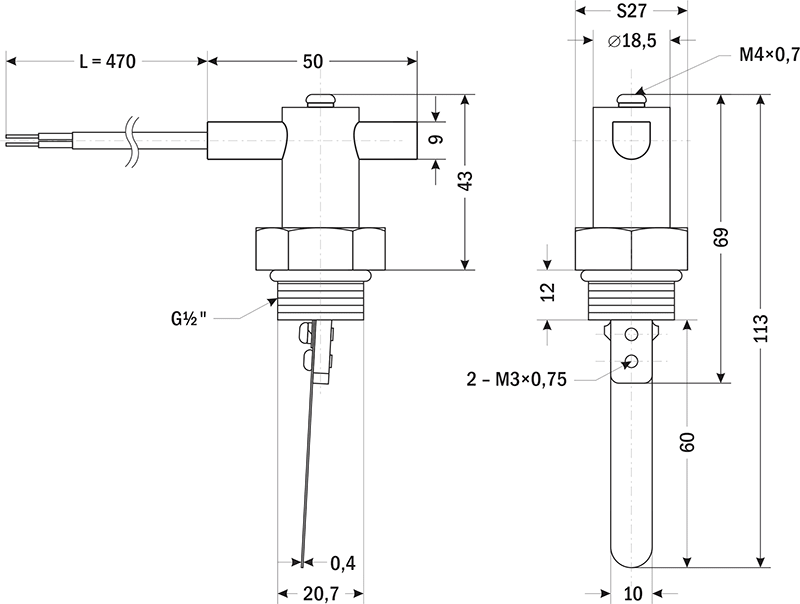
| Габаритный чертеж
|
![]() |
Версия: 2026-02-05-СДГ
| Документ | Дата обновления |
| Паспорт на ДР-П-05-15 | 06.02.2026 |
