ARHT-02C
Доступен для скачивания
краткий каталог продукции:
Датчик температуры и влажности ARHT-02C к приборам АРГО-D, ПТВЛ-610
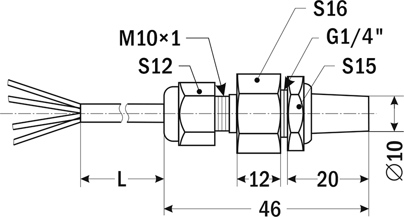
Длина кабеля может быть модифицирована нашим предприятием под любую задачу заказчика
Длина кабеля может быть модифицирована нашим предприятием под любую задачу заказчика
| Параметр
| Значение | |
| Диапазон измеряемых температур | −40...+100°С | |
| Диапазон измеряемой влажности | 0...100%RH | |
| Погрешность измерения температуры | ±0,5°С
| |
| Погрешность измерения влажности
| ±4,5%RH | |
| Длина кабеля (L)
| 1...50 м | |
| Материал датчика | Латунь | |
| Пылевлагозащита | IP50 | |
| Тип чипа датчика
| SHT30 | |
| Габаритные размеры | 18×46×16 мм | |
| Габаритные размеры |
|
| Схема подключения
|
|
Версия: 2022-09-16-ЛВС